Novo Publicação: Marco Legal da Inovação

Acessar agora
Tecnologias protegidas para transferir e licenciar

Método de análise de fluidos com o uso de ressonância magnética nuclear

Método de análise de fluidos com o uso de ressonância magnética nuclear

Áreas de aplicação

Energia, petróleo e gás Indústria Tecnologias ambientais Tecnologias de análise e identificação

Descrição técnica

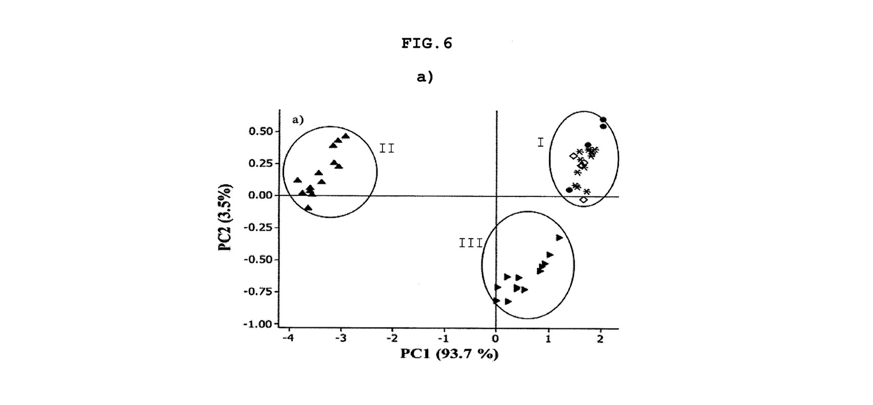
A invenção aqui proposta trata de um processo de análise de fluidos com o uso de ressonância magnética nuclear aplicável a emulsões água-óleo, preferencialmente petróleos. Tal processo compreende as etapas de decantação, desemulsificação e homogeneização da amostra, análise e medidas do sinal no equipamento de RMN; tratamento dos sinais obtidos na etapa de análise e medidas de sinais; tratamento quimiométrico dos resultados obtidos na etapa de tratamento de sinais; classificação e determinação da viscosidade, densidade e grau API das amostras.

Colaboradores

  • Lúcio Leonel Barbosa / Vinícius Gomes Morgan / Cristina Maria Dos Santos Sad / Maria De Fátima Pereira Dos Santos / Eustáquio Vinícius Ribeiro De Castro